# 信创端_会议管理(高级版)插件升级手册
注意:
执行会议管理(高级版)数据升级前,请参考"致远 协同管理软件 V9.0SP1信创部署升级工具手册"升级至9.0SP1
# 高级会议升级
升级前的版本为:8.1/8.1SP1/8.1SP2(包括A8和G6),请执行以下步骤:
- 升级到9.0SP1版本后,原来的高级会议会被拆分为议题、会议方案、会议通知、会议纪要、排座等5个子应用。升级后,高级会议应用会被全部停用,需要用户到组织/集团管理员-会议应用授权去对应单位启用。

- 启用应用后,还需去单位的应用设计师下更新业务包到9.0版本
- 注意:系统版本升级到9.0SP1后,升级前启用了高级会议的单位,需要到对应单位的应用设计师下更新9.0SP1的业务包。
更新业务包操作步骤如下:
①登录需要升级的单位下的会议管理业务包的设计师账号,进入应用定制平台-应用管理中心,如下图所示:

②点击业务包右上角的【更新】按钮,点击【添加】,选择认证后的V9.0的会议管理业务包并上传,点击确定后界面如下图所示:

③点击下一步,进入系统检测界面后再点击下一步,如果弹出提示:"当前应用没有版本号,确认继续升级?",点击确定,如下图所示:

④继续下一步,直到提示升级成功

- 注意:V9.0SP1版本业务包更新时如果出现如下界面提示:"出错了!更新程序发现1项数据不兼容,不能继续更新,详情信息如下",点击下方的详情查看不兼容的字段,如下图所示:


记录不兼容的字段及所在的表单,进入应用包修改相应表单,将责任单位字段从"选多部门"控件改为"多单位多部门"后再次更新即可成功。
# 无纸化会议升级
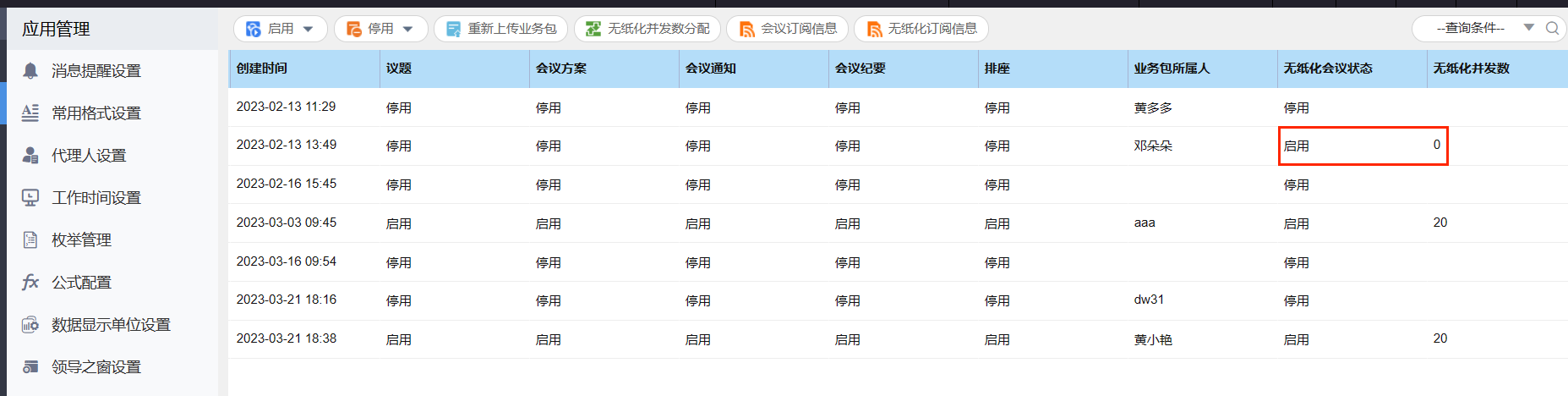
升级到9.0SP1版本后,若升级前无纸化会议是启用状态的,升级后也是启用状态,并发数也是升级前的数,不受影响。
若是新单位启用无纸化,则默认并发数由老版本的默认20变为0,需要用户去自行分配并发。


编撰人:zhangshuang