# CIP集成平台-协同+集成插件-签章平台-Part3-E签宝私有云(混合云)
# e签宝侧配置
# 基础配置
# 获取对接参数
# 登录e签宝管理平台(具体地址和账号由e签宝部署人员提供)

# 点击集成管理------>项目管理------>新建项目------>填写项目名称并保存

# 新建项目成功后,复制项目的项目Id、项目密钥记录文档留存。

# 获取签署类型编码
# 在e签宝天印电子签章印控业务平台中登录人员后进入菜单
# 配置------>业务模板配置------>新建业务模板

# 点击确定后进入配置

# 下一步中进行相关签署方式配置
# 注意:此处签署类型编码需记录文档留存,在后启动参数配置中需使用

# 完成并启动即可

# 启动参数配置
各个配置参数含义详见配置项含义 (opens new window)


# 选择电子签章平台为【e签宝混合云电子合同】,点击恢复默认配置。
插件会默认将启动参数配置好并将适配器自动绑定上。
其中置灰不可修改的项为默认功能即不可供选择,或者是没有购买高级插件高级功能不会启用。
如果适配器没绑定上,可以在适配器页面中清空后,再重新恢复默认即可。
# 按需设置【认证访问类型】
【统一认证】为认证对接参数从CIP应用注册处参数统一读取,不再按照单位应用分别配置。
【实名单位认证】为认证对接参数在企业实名认证时,由单位管理员分别配置管理。
# 配置【回调地址】,配置为所有OA用户都可访问到OA地址。
如果都是内网使用建议配置内网地址即可;
如果有外网使用场景,建议配置OA的外网地址。
# 配置【已签署合同下载地址】,默认配置下载到协同即可。
下载到协同:签署合同下载到协同附件。
下载到表单:签署合同下载到表单指定控件,配置项的值要与表单上绑定控件的数据域名保持一致,且控件必须为上传附件控件。
# 配置【签署类型编码】
# 在获取对接参数->获取签署类型编码时存留档编码,如图

# 检查配置是否正确以及适配器是否绑定。
- 其他配置项一般不需要调整,默认即可。
# 应用接入配置
# 1、登录集团管理员,打开CIP集成平台-->第三方应用-->应用注册页面,勾选【e签宝混合云电子合同】应用,点击修改。

# 2、修改参数IP和port为e签宝对应环境地址ip以及端口号
# 3、修改参数AppId和AppKey为客户实际对接参数。
# 4、点击保存。
# 实名认证
# 企业实名认证
# 1、切换到单位管理员账号,进入CIP集成平台-->协同+集成插件-->签章平台菜单,打开【企业实名信息登记】页签。
初始状态为【未同步】
# 2、当点击确定后正常连接至e签宝,刷新该页面查询到该机构时状态自动更变为【已同步】
注意:协同平台机构名称为oa当前单位名称,需确保该名称是可以认证的企业单位

# 3、点击确定保存,一个企业就认证好了并与OA单位绑定成功。
# 4、e签宝后台中同步创建单位查看入口:
组织用户------>内部组织用户

# 员工实名认证
# 1、切换到单位管理员账号,进入CIP集成平台-->协同+集成插件-->签章平台菜单,打开【员工同步】页签。
注意:人员需要绑定手机号和邮箱其中一个才可认证
# 2、选择需要同步的人员,点击【人员同步】,该人员同步状态由【未同步】改变为【已同步】。如图所示

# 3、e签宝后台中同步创建单位查看组织用户------>内部组织用户------>自己同步的单位下存在同步人员

# 4、点击更多,可进行人员密码重置。将会发送对应账号的密码。使用该密码可登录e签宝业务平台

# 印章管理
# e签宝平台印章管理
# 1、在e签宝中授权相关印章管理人员
使用admin账号登录e签宝管理平台------>角色权限------>角色授权
设置相关人员授权为印章负责人或印章管理员
印章负责人:将印章管理相关功能分配给印章管理员
印章管理员:印章负责人分配的印章管理员角色,要与角色当中印章管理员角色权限匹配上才可以

选择对应角色点击授权------>功能授权页签页面
不同角色可选择不同功能范围

选择对应角色点击授权------>授权对象页签页面
进行对应人员的角色授权

# 2、e签宝业务平台创建印章
在e签宝业务平台------>印章------>印章类型------>添加印章类型

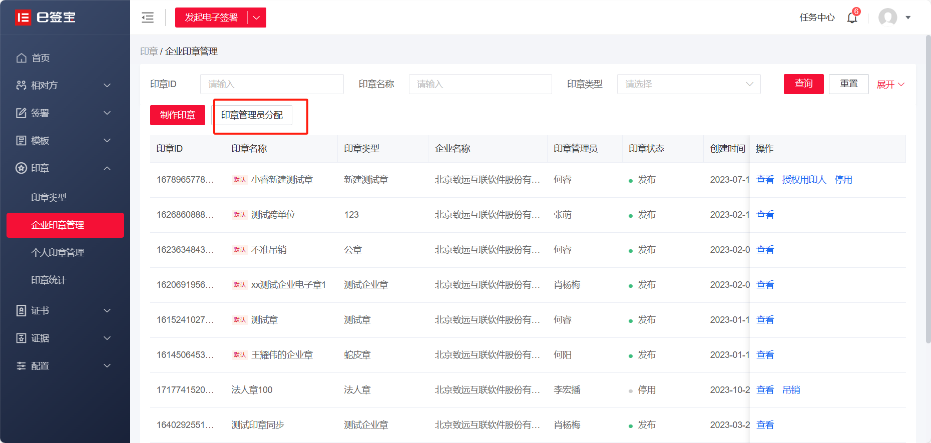
# 3、创建企业印章
e签宝业务平台------>印章------>企业印章管理------>印章管理员分配按钮
先进行印章管理员分配,对印章类型进行管理员分配,使其可创建对应类型的印章

注意:此处企业名称以及印章管理员需要自己输入关键字,才会有下拉选项

e签宝业务平台------>印章------>企业印章管理------>制作印章按钮

创建印章页面填好相关印章信息后保存后企业印章列表进行发布

# 4、企业章授权用印人
发布完成后对相应印章进行授权用印人

# 5、创建个人印章
在e签宝业务平台------>印章------>个人印章管理------>添加印章------>创建个人印章


# oa平台印章管理
# 1、切换到集团管理员账号,给印章管理人员设置【印章管理员】角色。
印章管理员比普通人员权限用户多了一个【企业印章管理】菜单。
【印章管理员】角色

- 【普通人员权限】角色

# 2、登录刚绑定了【印章管理员】角色的用户,进入到企业印章管理页面。
- 印章管理员可以查看所在单位及其部门绑定公司的所有【审核通过】的印章
# 3、点击印章同步,会将E签宝平台的印章拉取到OA使用,并在此列表展示。

第一次进入页面或在e签宝平台中进行过印章变动在oa中签章平台都需要手动进行印章同步,保证拉取到e签宝中最新的印章信息
点击对应印章的详情按钮可查看该印章授权的人员

# 4、印章授权用户后,员工才能使用该印章进行合同盖章。
- 有印章授权的员工才可以用于【电子盖章】节点。
# 5、印章状态说明
在e签宝中可对印章进行停用

停用后在签章平台中进行【印章同步】操作后可同步【停用】状态

# 流程配置
流程配置说明
E签宝节点共有四种,分别是【发起签署】、【电子签字】、【电子盖章】、【e签宝外部签署】
【电子签字】和【电子盖章】节点配置的人员须进行实名认证。
【电子盖章】节点配置的人员需要现有印章的授权,否则无法操作盖章。
【发起签署】节点是必须的。
一个流程中可以设置一个【发起签署】节点,多个【电子签字】权限节点,多个【电子盖章】节点。
不能通过主流程、子流程配置。
流程模板节点配置以实际业务为准,本文档仅提供简单示例。
# 1、登录应用设计师账户,配置一个流程表单。
可以配置【上传附件】控件,用于上传待签署的合同原件。
如果不配置【上传附件】控件,也可将待签署的合同原件上传到关联附件处。

# 2、新建一个流程模板
- 建议流程不要配置合并处理策略
# 3、在发起者节点后新增一个【发起签署】节点
默认只支持PC端发起签署
发起签署节点没有加签、减签等权限
# 4、在【发起签署】节点后新增一个【电子签字】节点
节点人员须实名认证成功
内部个人签字节点,可通过协同(PC、移动端均可)操作
也可通过收到的短信,打开短信中的链接登录e签宝进行签字(短信登录支持手写签字)
# 5、在【电子签字】节点后新增一个【电子盖章】节点
节点人员必须先实名认证成功
节点人员必须有企业印章授权
内部盖章节点,只能通过协同处理,选择已授权的签章进行盖章
# 6、在【电子盖章】节点后新增一个【外部签署】超级节点
支持绑定主表字段或者绑定明细表字段。
可通过绑定明细表字段,配置多个外部签署方。
设置多个外部签署人时,每个外部签署人信息需全部选择主表字段或同一明细表字段。
外部签署,不传单位名称,表示代表个人签,只签字不盖章。
外部签署,传单位名称,表示代表个人代企业签,必须盖章。
单位名称和人员名称可以选择文本类型的控件。
接收人手机号只能选择字段长度为11位的文本控件或者字段长度为11位的整数型数字控件。



# 7、模板授权、表单保存并发布。

# 验证流程
# 1、填写外部签署人信息并上传待签署的合同原件,发起流程。
- 内部签署人读取的是节点人员信息
# 2、发起签署提交,选择需签署文件以及签章单位。
每一个节点提交后,会给下一个签署节点发送签署短信。用户可以自行选择是用OA签署还是短信签署。
发起签署时会将关联附件、表单附件中后缀为pdf的附件都列举出来供选择。
如果只有一个文件,默认无需选择。如果多个文件,由用户手动勾选确认哪些需要签署。

进行签署设置 为发起签署流程之后的节点选择是否添加法人签署、是否静默签等选项,如果是静默签的话,必须选择印章名称。

弹出签章定位页面,在所有待签署文件中,通过切换签约方、合同对文件作签字、盖章和日期定位。

确定后提交成功页面

- 如果未设置签章定位框,签章时可自行拖拽。
# 3、电子签字提交
在签署设置里,静默签选否,这里才会弹出第三方界面进行签署;静默签选是则点击签字按钮直接流转到下一个节点。


# 4、电子签署方式说明
签署时可选择的认证方式有:密码认证,短信认证,邮箱认证
短信认证,邮箱认证由实时发送验证获取认证密码

密码认证在e签宝业务平台------>鼠标移至头像处出现下拉信息------>点击用户信息
进入用户信息页面设置签署密码,在签署盖章时可直接输入该密码进行签署,盖章动作

- 签署成功后会发送短信给节点人员确认

# 5、电子盖章提交
在签署设置里,静默签选否,这里才会弹出第三方界面进行签署;静默签选是则点击盖章按钮直接流转到下一个节点。

- 盖章确认时会发送短信验证码给节点人员确认
# 6、外部签署提交
所有的外部签署方都签署完成后,超级节点才会自动跳过。
如果有任一外部签署方选择拒签,OA流程和合同签署流程将撤销,OA流程中签署后的合同附件会被删除。
外部签署人手机接收短信,打开链接进行签署。
查看待签署文件详情并签署,支持手写签字
验证码校验确认,签署完成
# 7、查看签署完合同附件
节点签署完,会将签署后的合同附件添加到流程附件或者指定的回传控件中。
【电子签字、电子盖章】节点为主动调用平台接口,获取签署后文件。
外部签署依赖回调机制,为外部签署人员签署成功后,调用OA接口回传文件并更新节点状态,跳过超级节点。
# 扩展功能(非必需)
# 模板合同
# 配置说明
# 1、登录e签宝业务平台------>模板------>模板管理------>新建模板

# 2、点击新建模板

# 3、设置完成后,点击发布
拖拽需要的数据域后进行发布

# 4、新建一个流程表单,拖入【电子合同模板】控件并进行配置
- 如果不用模板合同,一定要把该控件删除。配置了该控件,就要配置完整。否则影响发起流程。

# 5、配置流程模板,电子签字和电子盖章节点绑定模板合同签署方

# e签宝条件签署
# 配置说明
使用并发节点选择参与条件的人员,发起签署后自动流转到符合该条件的人员

配置条件签



# 验证流程
在发起人输入金额时输入30001,流程自动选择符合该条件人员

快速跳转