# CIP集成平台-协同+集成插件-签章平台帮助手册
签章平台融合协同平台与三方签章厂商(e签宝、法大大、群杰),实现合同签署全周期线上化,从传统线下模式转变为线上互联签署的全新模式,实现全程电子化流转,提高用印及签署效率;对于组织中的各类印章,也实现了数字化的管理方式,实现印章的集中管控,兼顾用印安全和用印效率。 物电签平台由三部分构成,分别是电子合同集成插件、电子合同增强插件和智能印章集成插件,其中,电子合同增强插件需要结合电子合同集成插件一起使用。
# 电子合同集成
# 一、功能介绍
8.2在电子签章原有功能的基础上,集成了e签宝电子签章三方能力服务。将原有电子签署能力服务“法大大公有云”、“法大大私有云”、新增的“e签宝混合云”以及物理签章能力服务“群杰智能印章”整合为【物电签平台】。针对后台部分启动参数做了配置优化。新增“展开\收起高级配置”、“恢复默认”(一键恢复系统默认配置)以及“帮助”等功能。提升交互体验的同时,提供了更快捷的配置选项。前台部分主要新增了“签章平台”门户,将不同厂商集成到OA的服务统一管理,实现“电子印章、实体印章、图片印章”一体化全生命周期管理、灵活授权。支持跨单位、跨业务、不同类型印章统一发起、一键签署等功能,满足多样化业务场景。除此之外,我们提供了更丰富的签署场景。电子合同增强插件除支持上述功能外,针对不同厂商的签署能力。还新增了“静默签署、条件签署、并行签署、移动端模板方式发起签署”等拓展能力,更好地满足企业中实际签署场景。
# 二、场景简介
伴随着疫情的爆发,办公数字化也迎来了战略机会窗口,形成了政府端倡导、用户端需要、相关企业大力支持的局面。疫情期间,远程办公在国内广泛应用,与之相应的业务处理模式及需求也呈现爆发式增长,签署线上化成为企业远程办公的刚需。 电子合同是双方或多方当事人之间通过电子信息网络以电子的形式达成的设立、变更、终止财产性民事权利义务关系的协议, 是企业数字化发展过程中的必经之路。第三方电子合同的服务链条涉及实名认证、合同确认、电子签名、电子合同、合同管理、电子存证、法律服务等多个环节。 以下是电子签署主要适用场景:

# 三、操作流程
# (一)整体架构及功能
1.物电签整体功能架构

2.电子签章功能流程 根据三方厂商接入能力服务差异性,法大大的接入整体使用流程和e签宝有一些差异。下图所示,法大大的实名认证是在单位管理员角色下,进行企业认证,之后进行人员实名认证消息发送给相关人员。个人接收到协同消息后点击跳转至法大大系统完成实名认证。后续再发起签署等相关流程。e签宝的单位管理员角色是直接将单位信息、人员信息等同步至e签宝系统。之后发起签署时,如果改人员没有经过实名认证,则页面上会有“去认证”按钮。可直接进行人员认证。如果是电子盖章节点,就会用到企业章,则也需要进行实名单位的认证。人员和单位的认证只有在第一次没有认证过的时候才需要进行认证。认证一次之后再次进行签署时可直接进行签署。 (1)法大大:

(2)e签宝:

# (二)后台启动参数配置
步骤概述:集团管理员登录后台管理系统,选择【CIP集成平台】-【协同+集成插件】-【签章平台】-【启动参数】,进行配置签章平台启动参数。后台适配器与启动参数做了绑定。即启动参数选择“是”,即可配置对应的接口能力服务适配器。适配器的接口绑定将会直接影响功能的使用,可以根据业务场景的需求结合下面的能力服务接口支持的厂商以及每个能力服务接口所描述的含义来进行配置。启动参数中可以通过选择不同的签章平台来使用不同的三方厂商,并且为了更好地查看体验本期新增了“展开/收起高级设置”按钮,该按钮可以选择展开活折叠下方启动参数配置。同时为了简化配置,该页面新增了“恢复默认配置”按钮,在签章平台停止的情况下可一键恢复系统预置启动参数和适配器的默认配置。如果存在历史配置,该功能要慎用。

1.账号管理 (1)是否支持账号创建与绑定 ①含义:若支持账创建与绑定,则组织内员工在三方签章平台进行实名认证前,需要先为该员工创建平台账号,并将该员工绑定到所属实名企业下 ②对应能力服务接口:创建账号接口 2.企业/员工信息查询管理 (1)是否支持企业/员工详情查询 ①含义:若支持查询,在第三方签章平台可查询企业/员工详情 ②对应的能力服务接口:企业信息查询接口、员工信息查询接口 (2)是否支持企业/员工检索 ①含义:若支持检索,在第三方签章平台可根据名称模糊检索企业 ②对应的能力服务接口:企业信息列表查询接口、个人用户信息列表查询接口 3.实名认证管理 (1)是否支持集团化组织实名 ①含义:支持集团化组织实名,则表示第三方签章平台支持上下级企业结构 ②对应的能力服务接口:实名企业上下级绑定、解除实名企业上下级绑定 (2)企业实名绑定类型 ①含义:协同平台组织与第三方实名企业的绑定方式 ②对应的能力服务接口:无 (3)是否支持发起企业实名认证 ①含义:第三方平台是否提供发起企业实名认证的接口,支持外部触发实名认证 ②对应的能力服务接口:企业认证地址获取接口、新增人员接口 ③页面影响:若支持发起企业实名认证,在企业实名信息登记维护页面会出现【企业实名认证】按钮,点击可跳转到三方签章平台完成实名认证

(4)是否支持发起员工实名认证 ①含义:第三方平台是否提供发起员工实名认证的接口,支持外部触发实名认证 ②对应的能力服务接口:员工认证地址获取接口 ③页面影响:若支持发起员工实名认证,则在员工实名认证邀请页面点击【申请认证】时,被选中的员工会收到实名认证邀请消息,点击消息可以穿透打开三方签章平台的实名认证页面

(5)是否支持企业实名帮助指引 ①含义:是否提供企业实名帮助指引文档,点击相应的【帮助】按钮可以查看 ②对应的能力服务接口:无 ③页面影响:若支持实名认证帮助指引,在企业实名信息登记维护页面会出现【帮助】按钮,点击可查看帮助文档

(6)帮助指引地址 ①含义:企业实名帮助指引文档url地址 ②对应的能力服务接口:无 4.印章管理 (1)是否支持本地印章创建 ①含义:第三方平台是否提供印章创建接口,支持协同平台创建企业印章 ②对应的能力服务接口:印章新建接口、印章删除接口 ③页面影响:若支持本地印章创建,在企业印章管理页面可见企业电子印章创建入口

(2)是否支持本地印章授权 ①含义:第三方平台是否提供印章授权接口,支持在协同平台授权实名员工使用印章 ②对应的能力服务接口:印章授权接口、印章取消授权接口 ③页面影响:若支持本地印章授权,则在企业印章管理列表页可见【授权用印人】按钮;在查看印章详情页可见【新增授权】按钮

(3)是否支持印章代持 ①含义:第三方平台是否集团化组织下单位内或跨单位印章授权 ②对应的能力服务接口:印章授权接口 5.签署管理 (1)是否支持静默签 ①含义:第三方平台是否提供静默自动签署接口,支持协同平台发起自动签署流程 ②对应的能力服务接口:获取静默签授权地址、静默签取消授权 (2)外部签署非自动推送 ①含义:第三方平台签署流程中外部签署是自动推送还是接口调用推送。选择是,即为手动推送,由接口调用推送,适配器需要绑定外部签署节点调用推送接口;选择否,即为自动推送,由第三方平台自动推送 ②对应的能力服务接口:推送外部签署 (3)是否支持批量签署 含义:第三方平台是否支持多个签署任务一次性批量签署 对应的能力服务接口:批量签署接口 页面影响:若支持批量签署,则在电子签任务列表页可【批量签署】按钮

(4)是否支持第三方模板 ①含义:第三方平台是否开放合同模板接口,支持模板信息查询和模板签署任务发起 ②对应的能力服务接口:创建模板定稿任务接口、引用模板创建签署任务接口获取定稿任务详情接口、获取模板列表、获取模板详情、模板预览 ③页面影响:若支持第三方模板,在搭建表单时可设置“电子合同模板”控件,选择三方合同模板并将模板的内容域与单字段做绑定;物电签平台前台可见模板发签署相关的功能入口




(5)是否支持移动端模板发起签署 ①含义:通过模板方式拟定的合同,是否支持在移动端进行发起签署。选择是,可在移动端对模板合同发起签署;选择否,只能在PC端发起签署 ②对应的能力服务接口:无 (6)是否支持发起签署定位 ①含义:第三方平台通过接口发起签署时,是否支持调用签署定位接口。选择是,则发起人发起签署时,可以进行签署位置维护;选择否,则发起人发起签署时,不可定签署位置,由签署方自定位 ②对应的能力服务接口:获取签章定位地址接口 (7)是否支持在线验签 ①含义:第三方签章平台是否提供验签功能 ②对应的能力服务接:无 ③页面影响:若支持在线验签,则在签署任务-我已签署的列表中可见【验签】操作入口,点击可跳转到三方签章平台的对应页面中进行验签

(8)是否支持并发签署 ①含义:第三方签章平台是否并行无序签署,即多个签署方同时收到签署待办,执行签署动作 ②对应的能力服务接口:无是否支持多合同签署任务 (9)是否支持多合同签署 ①含义:第三方签章平台是否支持一个签署任务中有多份待签署文件 对应的能力服务接口:无③页面影响:若支持多合同签署,则发起签署选择签署文件时能够选择多个文件;否则,只能选择一个文件 (10)签署人强校验 ①含义:启用则发起签署流程强制校验外部签署人的手机号和单位、姓名是否匹配;否则不校验 ②对应的能力服务接口:无 (11)是否支持条件签署 ①含义:是否支持根据流程中设的分支条件,自动或手动选择选择签署方 ②对应的能力服务接口:文件创建无节点签署任务接口、开启无节点签署流程接口、添加无节点签署流程签署文档接口、添加无节点签署流程签署方接口、结束无节点签署流程接口 ③页面影响:

6.访问认证管理 (1)是否需要访问认证 ①含义:第三方平台是否需要获取访问认证令牌 ②对应的能力服务接口:认证口 (2)认证访问类型 ①含义: 统一认证:认证信息从CIP应用注册统一管理,全系统唯一 实名单位认证:认证信息在单位下独立管理 ②对应的能力服务接口:无 7.地址管理 (1)回调地址 ①含义:协同平台的外网回调地址 ②对应的能力服务接口:无 (2)已签署合同下载地址 ①含义: 下载到表单:签署合同下载到表单指定数据项 下载到协同:签署合同下载到协同附件 ②对应的能力服务接口:无 (3)表单签署合同数据项名称 ①含义:已签署合同下载到表单中的具体数据项的名称 ②对应的能力服务接口:无 8.其他 (1)签署类型编码 ①含义:当签章平台选择“e签宝混合云电子合同”时,需要填写签署类型编,此编码从e签宝平台获取。获取路径:e签宝业务前台->配置->业务模板配置->新建/查看业务模板->签署方式 ②对应的能力服务接口:无 页面:

# (三)适配器
步骤概述:集团管理员登录后台管理系统,选择【CIP集成平台】-【协同+集成插件】-【签章平台】-【适配器】。适配器的作用用来绑定三方接口库的能力服务,可动态添加参数、ip、端口等参数信息。系统安装时,可点击“导入”按钮或启动参数中的“恢复默认配置”根据不同签章平台的适配器包来一健导入。配置成功后也可通过“导出”按钮做配置备份。

# (四)企业实名,人员信息登记
1.e签宝组织人员同步 (1)组织信息同步 选择平台机构保存后,就可以将OA的组织信息同步至e签宝系统

(2)人员信息同步 选择对应的人可将人员同至e签宝系统,同步人员是为了通过集成e签宝做电子签署操作,要用到真实人员姓名。同步时,默认会使用OA的人员姓名来同步至三方。OA中可能涉及到部分人员姓名不是自己的实姓名。可通过编辑真实姓名填入之后再进行同步操作。

2.法大大实名认证 (1)企业实名认证 【企业实名认证】法大大管理员认证,企业实名认证的地址连接 【注册认证指引】法大大方配置新手指引地址链接 【应用AppId&AppKey】通过注册认证指引的地址到开放平台注册并获取,通过检测按钮可以校验配置是否正确 【企业管理员unionId】管理员认证后会返回unionId 【企业unionId】有了管理员unionId后,才可以获取企业unionId,才能做企业签章



(2)员工实名认证 【申请认证】选择一个人或多个人后会发生认证消息到个人,个人完成实名认证 【实名信息查阅】授权查看实名信息后可以查看到员工的实名信息




# (五)表单、流程配置态
1.节点权限 新增“电子签字、电子盖章”节点,该节点相比之前的“法大大签字、法大大盖章”节点,在适配法大大的时也支持e签宝的电子签章功能。可用于流程制作。同时也将之前的法大大签字、法大大盖章节点屏蔽。后续电子签相关的流程可统一用该节点完成功能需该节点同时支持目前协同现已集成的三方电子签平台:法大大私有云、法大大公有云以及V8.2新增的e签宝。

2.自定义电子合同模板控件 该控件使用场景为电子合同模板签,即在三方平台制作好电子合同模板之后,利用该控件来完成OA表单域和合同模板绑定,以及OA流程签署方和合同模板签署方的绑定。该控件也同时支持法大大公有云和e签宝混合云。 (1)模板域绑定:
- 三方签署模板制作



- 模制作OA表单时,可通过电子合同模板插件,将模板域内容和表单据域做绑定。绑定之后表单流程发送后,可将对应的表单域填写内容填充到三方模板上。

(2)签署方绑定
- 和数据域绑定同理,例如该模板制作时配置了两个签署方,就可以在制作表单时将模板签署方和节点做绑定。绑定完成流程发起后流转到对应节点就可以在模板的签署方置做签章处理。

(3)外部签署节点
- 外部签署节点属于超级节点,可在流程制作时绑定表单和模板的签署方信息


# (六)签章平台
1.业务首页 签章平台可对法大大、e签宝电子签章和群杰物理印章签署任务进行统一管理。平台首页包括人员认证状态(仅法大大)、待我发起、待我签署磁贴,电子签文件发起、模板发起快捷入口,我的印章以及待我签署列表。

2.签署管理 (1)文件发起 文件发起菜单可以查询到所有已授权的可以做电子签署文件发起的表单模板,包含电子签和物理签。可以通过列表信息看到模板的签署类型和签署方等信息。也可以通过点击直接穿透到表单发送页来发起电子签署。模板卡片上带有“电子签”(即电子签章模板,支持法大大、e签宝等)和“物理签”(即群杰物理印章相关签署模板)相关描述。同时电子签支持内外部签署。在模板卡片上也有相应的信息,通过“内部签署”和“内外部签署”来区分。内部签署指流程模板中签署方只有“电子签字”、“电子盖章”所绑定的人员。“内外部签署”指流程模板中除流程节点绑定相关签署方人员外,还通过表单自定义控件“电子合同模板”所关联了外部签署人员。“电子合同模板”控件的相关使用方式和介绍可见章节“自定义电子合同模板控件”中相关介绍。

(2)模板发起 查询所有电子签模板签署相关的表单模板,模板签署即制作表单时含有自定义控件“电子合同模板”的表单模板。

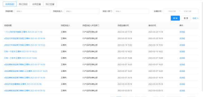
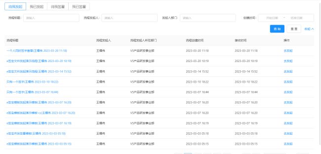
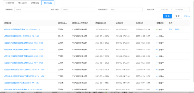
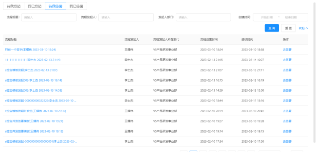
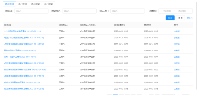
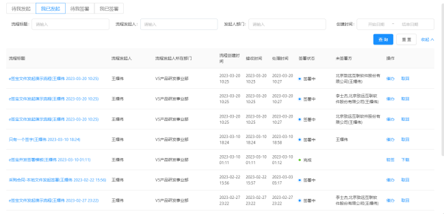
(3)签署任务 签署任务中可以查看电子签章登录人所有签署任务列表以及物理签所有任务列表。 ①待我发起列表:即流程已发送还未发起签署的流程列表。操作列表可以通过“去发起”一步发起签署。点击去发起会直接穿透至签署流程表单来发起签署。

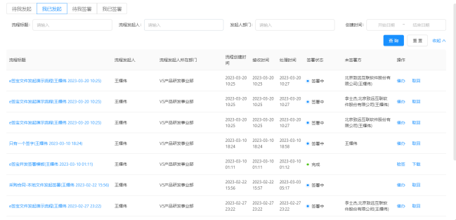
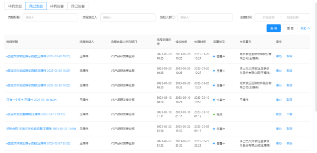
②我已发起列表:已经发起签署的任务列表,列表中包含签署状态、未签署方等重要信息。也可直接通过操作列进行取回、催办等操作。催办的信息将通过协同消息发送给催办方。“取回”操作会直接将流程回退到“发起签署”节点。“催办”会发送协同消息至催办方

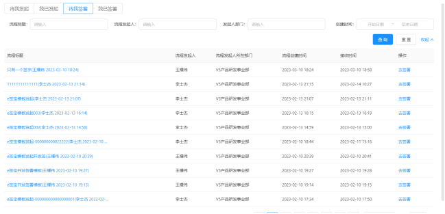
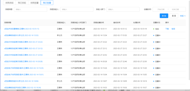
③待我签署列表:待我签字、盖章的流程列表,可通过操作列中的去签署进行签署相关操作。如果是法大大,会显示批量签署按钮,即可进行批量签署。


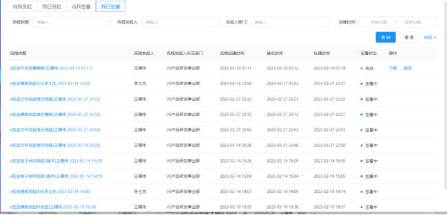
④我已签署列表:登录人已经完成签署的流程列表。列表中可以查看流程签署状态,若该流程所有签署方均已签署完成。签署状态即为完成状态,可以进行签署文件下载、验签操作。

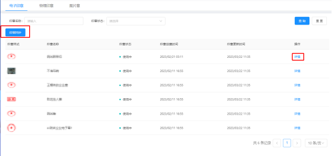
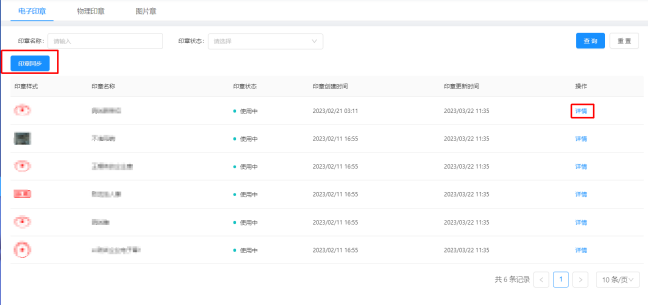
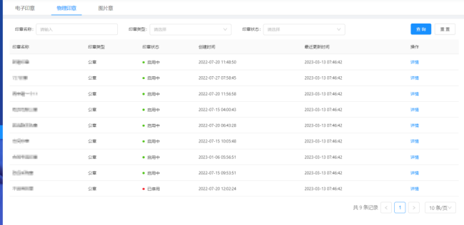
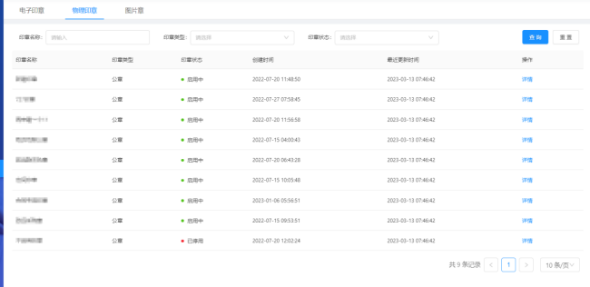
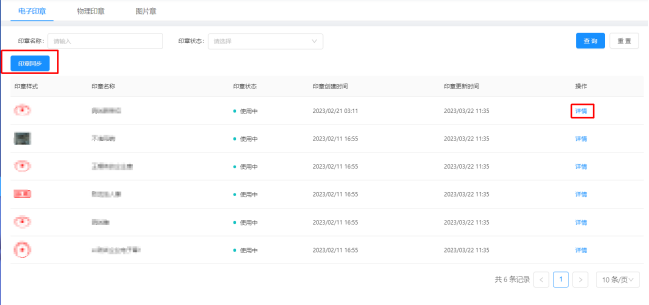
3.印章管理 此菜单只有拥有印章管理员角色的用户可以看到。 (1)企业印章管理 电子印章: 可以直接进行印章同步,从第三方同步企业印章。并授权管理。

详情中可查看印章的名称、类型、所属实名企业授权人等信息和改印章的用印记录。

(2)个人印章管理 个人印章主要针对e签宝的个人签字,可以通过印章同步来查看个人已有的电子印章签名。

# 智能印章集成
# 一、场景简介
适用于企业物理用印场景。用印申请人提交用印申请,上传用印文件,选择需要加盖的印章,说明用印时间、次数、原因等,审批通过后,获得用印授权码,申请人打印用印文档,使用智能印控设备加盖印章。
# 二、操作流程


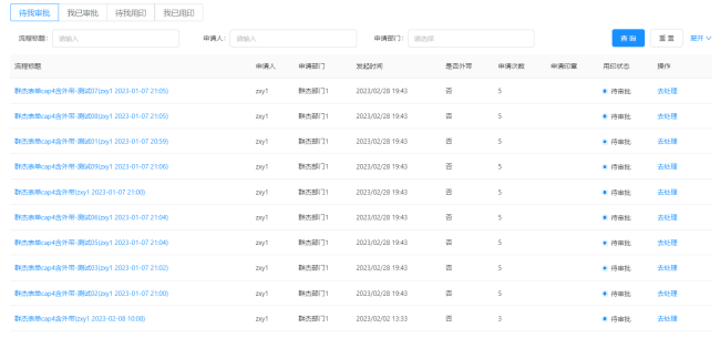
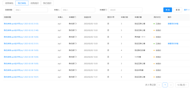
物理签: ①待我审批:物理签协同待审批列表。

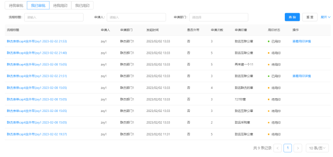
②我已审批:已经通过审批的流程列表,可查看申请次数、是否外带、申请的印章以及用印状态等关键信息。如果用印状态是已用印状态。可查看用印详情。

③待我用印:待用印流程列表。

④我已用印:用印完成的流程列表。

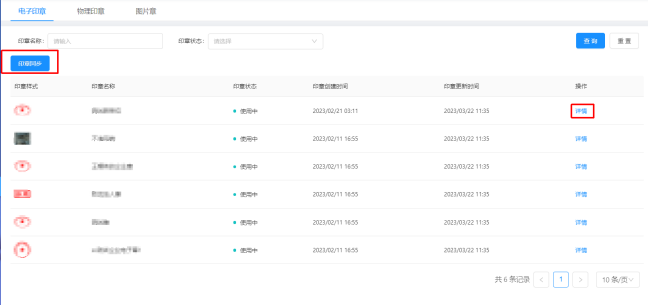
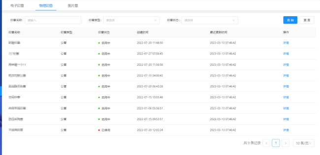
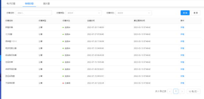
物理印章: 印章列表可查看印章名称、印章类型、印章状态等信息。

印章详情可查看印章名称、类型、印章形状、印章材质等印章信息和用印记录等信息。

图片章: 列表可以查看已新建的图片章,并且有名称查询、新图片章、删除、详情、编辑等按钮。

新建:

编辑:

快速跳转