# CIP集成平台-协同+集成插件-携程商旅实施手册
# 前言
1、本手册以V8.0SP2LTS-集团版为例,其他版本功能上可能会有一些差异。
V7.1SP1版本后携程插件没有大的功能变动,均可以参考此手册。

2、使用插件前提:
- 仅支持A8版本,不支持A6版本。
- 插件仅支持【携程商旅客户】,不支持【携程平台客户】。
- 需先购买OA的携程商旅插件
- 购买携程的相关服务后,携程会发送一封邮件给现场,里面有携程对接的一些账户信息等。
- 熟悉OA的基本操作及功能,如组织机构、表单设计、流程制作等。
- 准备集团管理员账户、单位管理员账户、普通账户。
3、本部分内容不需要读者对携程插件有深入的认识,旨在让使用者以最快速度、最小成本完成携程插件的上线。
# 基础配置
登录集团管理员账户,访问 CIP集成平台 → 协同+集成插件 → 携程商旅 菜单:

# 人员同步
# 1、设置人员同步项
登录集团管理员账户。

# 2、创建子账户

# 3、绑定子账户

# 4、同步操作
绑定子账户后人员会自动同步,当然也可以切换到集团管理员手动勾选组织同步。

# 5、查看同步日志
登录集团管理员,查看同步日志。

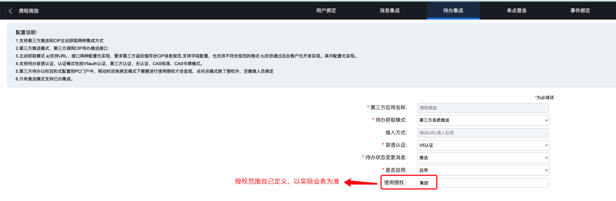
# 单点登录
注:V81SP1版本后【携程商旅】内置应用配置项都会默认赋值,不需要配置本章节内容。
# 1、配置应用接入
登录集团管理员账户,配置应用接入






点击【确定】保存。
# 2、修改接口


appkey点开后才能输入,用英文单引号引起来,appSecurity直接输入,保存即可。
如现场碰到认证接口不能手动修改的情况,联系客服上报bug给研发处理。
# 3、验证PC单点登录
登录一个配置了单点登录授权的普通账户,点击这俩个入口任意一个,看能否跳转到携程。

# 4、验证移动端登录
登录一个配置了单点登录授权的普通账户,看能否跳转到携程。


# 出差流程
# 1、用户授权
登录集团管理员账户,在组织机构中给普通用户授权。

# 2、安装应用
登录有【应用设计师】角色授权的用户,打开【应用定制平台】-【应用管理中心】,切换到【应用安装】tab页。
携程商旅应用包在购买插件时一并提供,从协同云商城上可以直接下载到本地。

选中本地应用包安装,依次执行即可。

应用包中共包含五张表单。

注意:标准表单中的所有控件都是有存在意义的,不允许修改、删除、从主表挪到明细表、从明细表挪动到主表、隐藏字段的操作,否则会导致推送审批单不成功。样式可以自行修改调整,可以增加字段,但是自行新增的字段并不会直接推送到携程,需要二次开发才行。
# 3、导入城市信息
登录有【携程商旅管理员】角色授权的用户,进入【携程商旅】-【基础档案】-【城市信息】页面



# 4、配置管控规则
以下按需配置,使用哪些出差类型配置哪些即可。比如现场只有【飞机、酒店】的出差业务,那么酒店管控规则就无需配置。
登录有【携程商旅管理员】角色授权的用户。
进入【携程商旅】-【基础档案】-【城市机票预订规则】页面。

点击新建,按照如下填写,然后点击确定保存。

这样就创建成功了一条机票管控规则。

进入【携程商旅】-【基础档案】-【火车机票预订规则】页面。
点击新建,按照如下填写,然后点击确定保存。

进入【携程商旅】-【基础档案】-【酒店机票预订规则】页面。
点击新建,按照如下填写,然后点击确定保存。

# 5、修改流程
以【出差申请单-交通分离】为例,其他同理。

表单中自带一条流程,用户自行配置,以现场实际业务为准。

# 配置业务流程集成
登录集团管理员,有以下两种集成配置方式。
没有购买【业务流程集成】插件。
自行下载导入。下载地址为携程集成业务流程集成导入包 (opens new window)。

购买了【业务流程集成】插件后,可以直接手动创建流程。
【业务分类】-【新建分类】

选中【携程集成】分类,切换【集成业务】-【新建集成业务】。

关联应用

绑定节点事件
该节点事件的作用是生成审批单号,并将审批单推送给携程。

通常该事件绑定在一个流程的审批节点上,以现场实际业务为准。
选择一个节点,点击【节点事件】,勾选后确定保存。

绑定成功后,节点会显示一个小图标。

点击【保存】,这样一个业务流程集成就绑定成功了。

# 验证出差流程
以【出差申请单-交通】为例
- PC端
表单填写如下

注意:表单示例所有已填字段(除出差理由外)均为必填项,如果某个字段未填写,会导致推送审批单不成功!
流程走完且审批单推送成功后,系统会发送消息给用户,用户点击消息就可以单点登录到携程系统去订票。当然也可以直接从导航处单点到携程去订票。

单点登录到携程后,会弹出【审批单列表】窗口供选择。
可以看到,刚刚填写的审批单已经推送携程成功。这里的审批单号是由OA生成的,和表单上的【携程审批单号】显示的控件值是一致的。
注意:表单上生成审批单号并不代表推送审批单成功。判断是否成功推送审批单的标准只有一个,就是携程系统那边的【审批单列表】中可以选择到那条审批单。


选择审批单后,填写检索条件,点击搜索
注:从本步骤开始为携程系统内部预定操作,以下仅供参考。如果有疑问,请优先咨询携程的对接人员。

跳转到航班列表,选择要预定的航班

填写个人信息,添加乘机人。


填写完预订信息后,点击支付

如果预定信息与审批单信息不一致时,则会拒绝提交。并弹出下面核对画面。
用户需要核对信息是否正确,如果预定信息错误,返回修改即可。
如果审批单信息错误,需要在OA中发起【出差变更单】来更正审批单信息。
注:测试账号只能演示部分预定效果,正常订票流程以用户实际操作为准。

- 移动端
表单填写如下

流程走完且审批单推送成功后,系统会发送消息给用户,用户点击消息就可以单点登录到携程系统去订票。当然也可以直接从导航处单点到携程去订票。

单点登录到携程后的画面如下图

选择出差类型,跳转到下图页面。填写检索条件,点击搜索。
注:从本步骤开始为携程系统内部预定操作,以下仅供参考。如果有疑问,请优先咨询携程的对接人员。

跳转到航班列表,选择要预定的航班

填写个人信息,添加乘机人。


填写完预订信息后,点击支付

如果预定信息与审批单信息不一致时,则会拒绝提交。并弹出下面核对画面
用户需要核对信息是否正确,如果预定信息错误,返回修改即可。
如果审批单信息错误,需要在OA中发起【出差变更单】来更正审批单信息。
注:测试账号只能演示部分预定效果,正常订票流程以用户实际操作为准。

# 订单和结算数据
# 1、基础配置
登录集团管理员账户。
结算同步方式默认为按月同步,可以在此处调整。

# 2、订单与结算数据
订单、结算数据分为3大类,分别是【出差申请单记录】、【订单信息】、【结算信息】。
其中,订单信息和结算信息画面的数据都是来源于携程的数据,同步时间默认为晚上11点。
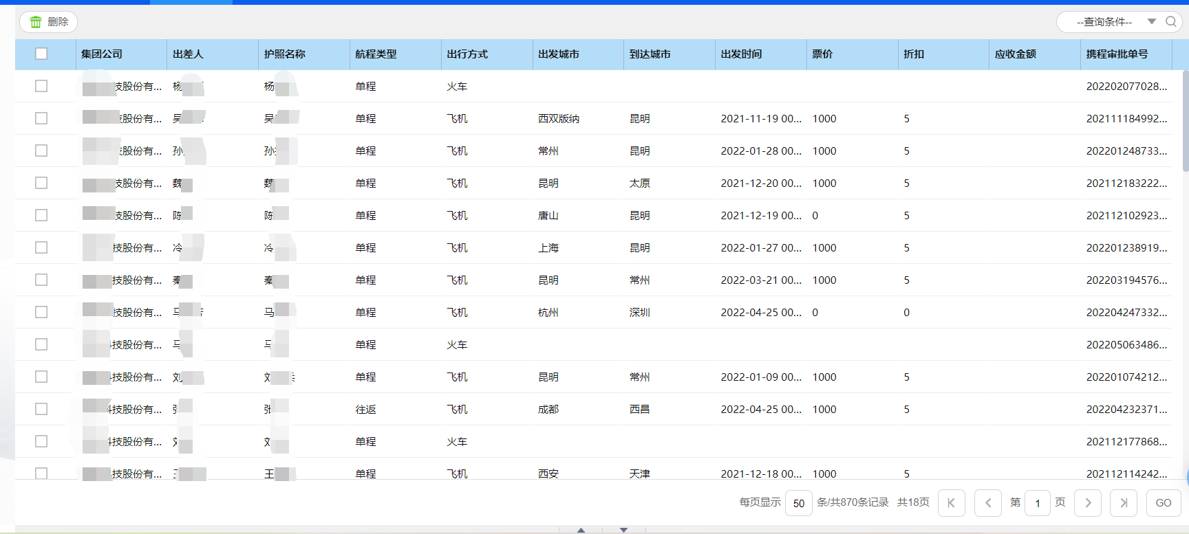
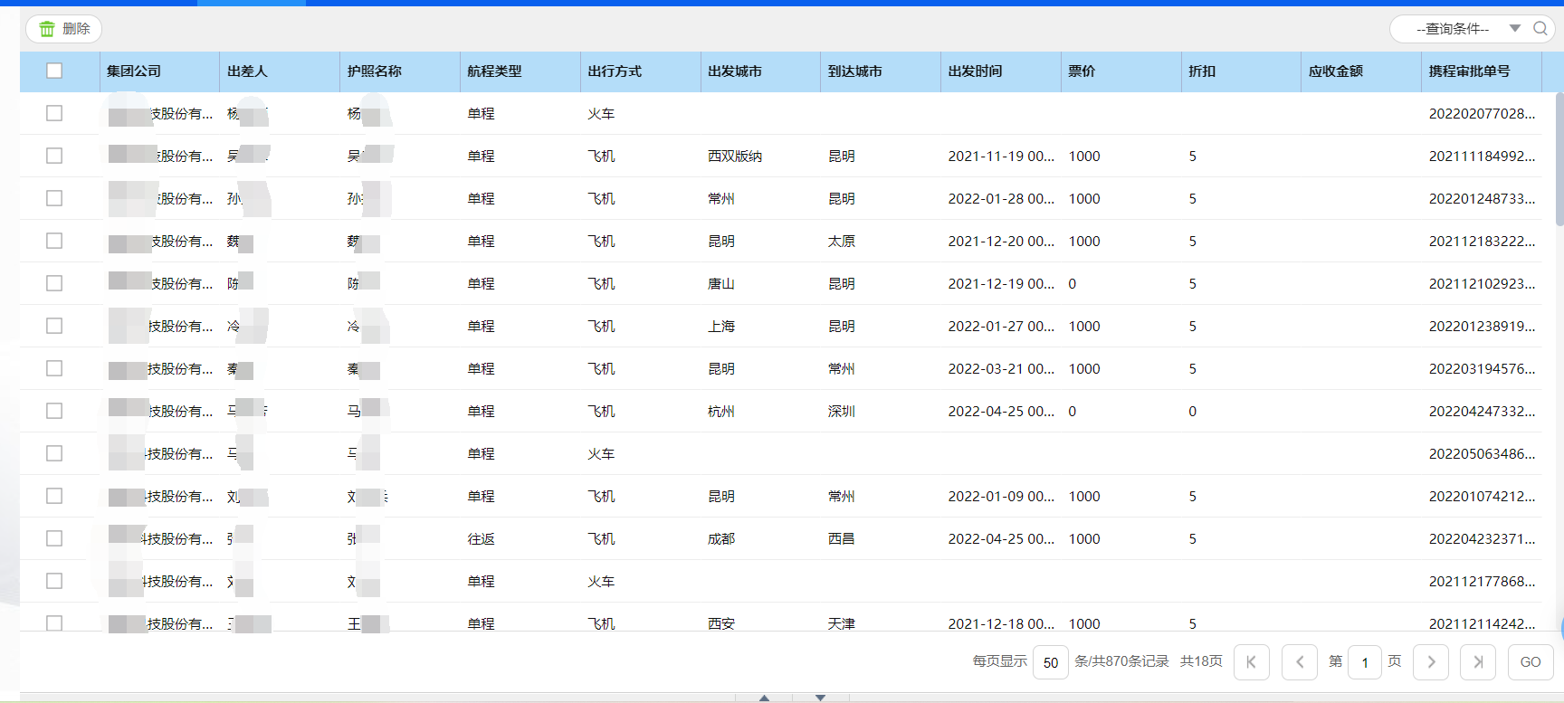
1、出差申请单记录
出差申请单记录-交通:包含飞机、火车的出差申请单信息
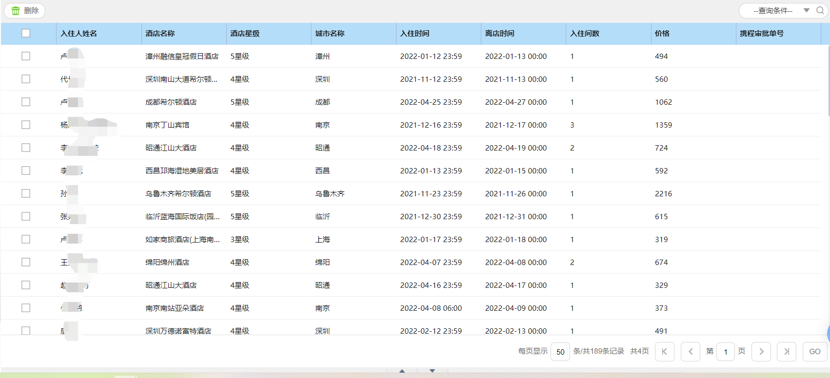
出差申请单记录-酒店:仅包含酒店的出差申请单信息

出差申请单记录-交通参考下图:

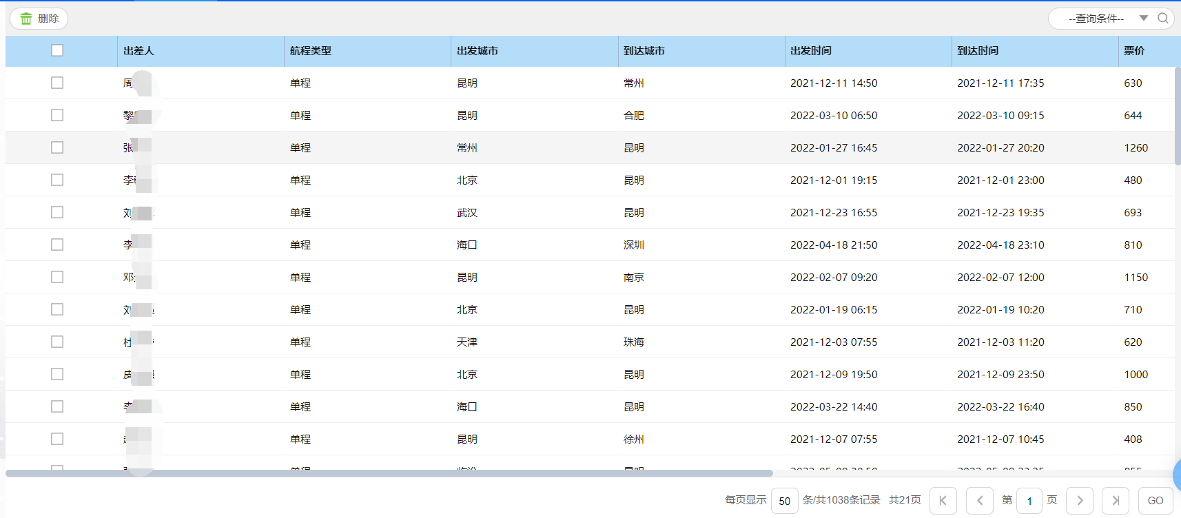
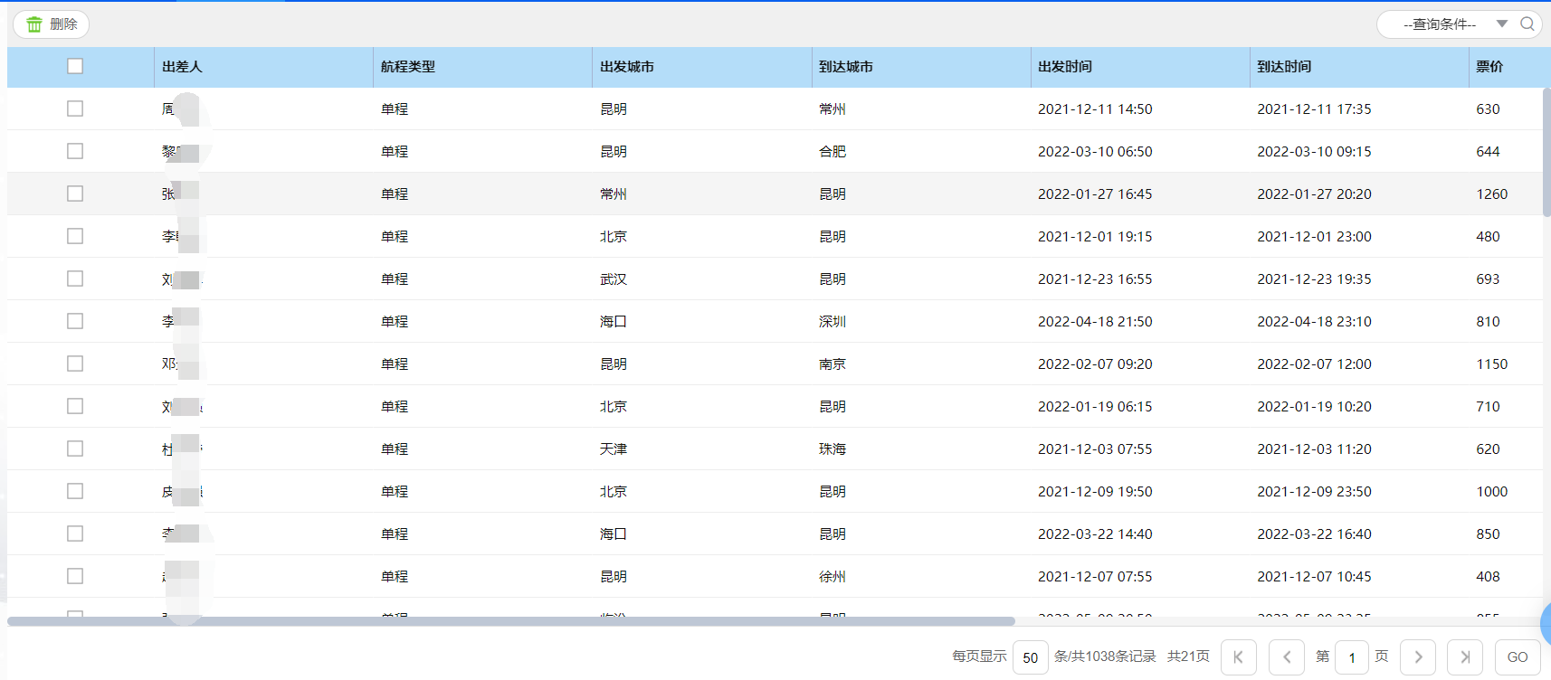
2、订单信息

订单信息画面参考下图:



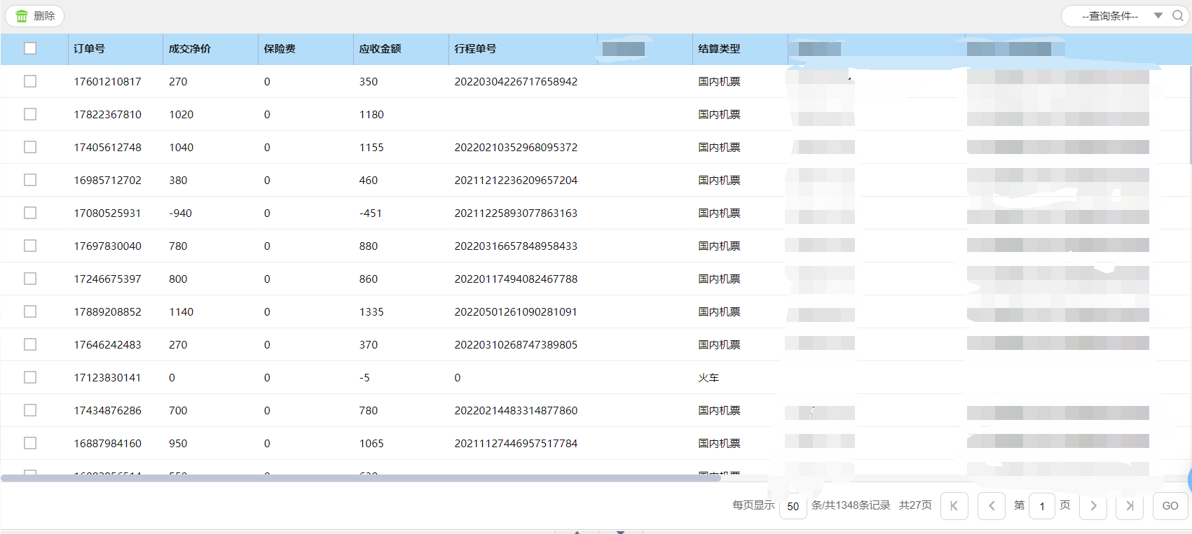
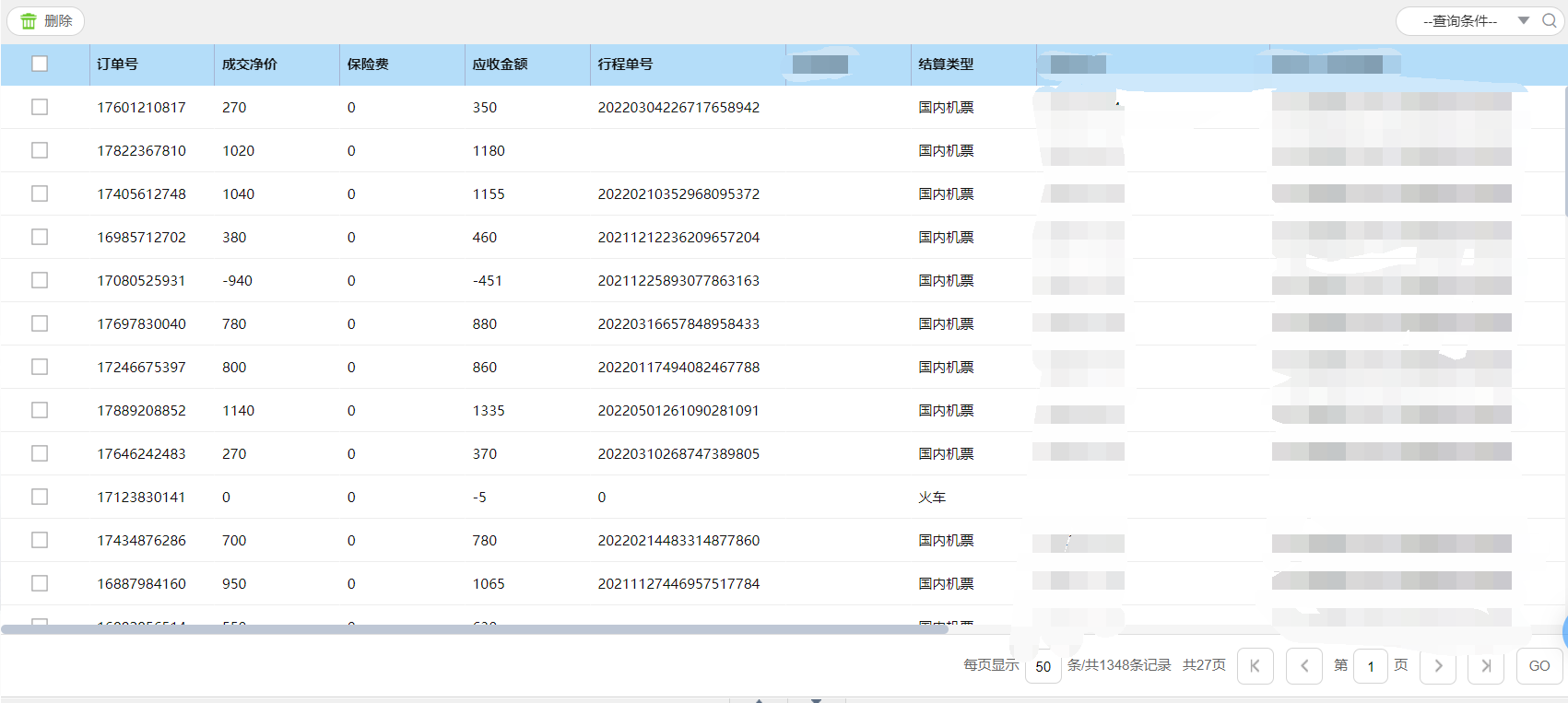
以上这三个画面的订单信息不能用于cap4底表关联。标准产品还提供了另一类的订单数据,是通过底表写入的方式实现的。
表单下载地址为携程集成订单数据无流程底表下载 (opens new window)
表单设置方式为:
1、将【无流程表单】文件夹中的三个表单导入到OA的携程应用包中。
2、无流程表单导入后,表单编号需要重新设置下,对应关系如下。
火车 hcpddxxjlb
飞机 jpddxxjlb
酒店 jdddxxjlb
注意:表单编号不可随意修改!!!会影响同步。
应用绑定也要配置。
底表同步画面参考下图:



3、结算信息

快速跳转