# V7.1SP1携程插件产品手册
# 目录
# 概述
- 内容概述
A8-V5协同管理软件中提供了与携程系统的集成,目前已支持携程商旅及平台两种客户类型,主要包括组织数据同步、单点登录和携程订票等功能。
携程商旅客户:是已公司名义和携程签订了协议的,这个公司的职员公务出差的预订,他们就属于商旅客户。
携程平台客户:是在携程平台上申请了账户但未已公司名义和携程签订了协议的客户。
- 我们能做到
把OA中的人员信息同步到携程开放的中间库中。
通过OA单点登陆到携程系统。
携程商旅出行的事前审批和管控。
# 插件基础配置
# 2.1 携程插件配置必读:
携程插件依赖DEE插件,客户在购买携程插件的同时,还需购买DEE,7.1SP1后续我们会优化,去除DEE依赖;
使用携程插件必须要让客户购买携程接口,携程插件推送数据到携程这个过程是需要调用携程接口的,携程接口是收费的,如果没有购买无法使用携程插件,这个不是致远的原因,需要跟客户解释清楚;
需要购买的5个接口:人员同步接口、单点登录接口、数据推送接口、订单结算接口、订单取数接口,其中订单结算接口跟订单取数接口根据客户需求是否需要购买,前三个接口是必须的
配置过程中有问题,可查询 《携程插件售前售后问题答疑文档》,基本可解决大部分问题
此文档配置包括 7.0,7.1 版本配置,7.0,7.1 都可按照此文档进行配置
# 2.2 A8基础参数配置:
打开OA,登录集团管理员(集团版)或企业管理员(企业版),进入CIP平台-》协同+集成插件-》携程商旅-》启动参数页签,见图参数配置说明:
{width="5.761805555555555in"
height="3.0229166666666667in"}
注意:子账户为必填值,如果不填写,组织同步时会有1007的携程错误码提示
填写子账户的地方有两个地方:
第一个地方为上图 子账户默认值,
第二个地方为单位管理员,子账户设置,
如果这个两个地方都设置的了,组织同步会取单位管理员设置的,如果单位管理员没有设置,则会取集团管理员统一设置的子账户
图 参数配置说明
+-----------------+----------------------------------------------------+ | 名称 | 值 | +=================+====================================================+ | 子账户默认值 | 子账户默认值,默认为空, | +-----------------+----------------------------------------------------+ | 人 | http://www.corporat | | 事信息更新接口 | etravel.ctrip.com/corpservice/CorpCustService.asmx | +-----------------+----------------------------------------------------+ | 登陆认证地址 | https://www.corp | | | oratetravel.ctrip.com/corpservice/authorize/ticket | +-----------------+----------------------------------------------------+ | 携程版本控制 | 目前携程插件支持平台和商旅两种接 | | | 入模式,平台模式支持与携程平台客户对接,商旅支持与 | | | 携程商旅客户对接,根据客户类别选择匹配的接入模式。 | +-----------------+----------------------------------------------------+ | 携程管控规则 | 业务集成管控:业务集成插件 | | | 管控(主要针对V7.0版本之前使用携程插件的客户),即携 | | | 程插件使用业务生成器管控相关表单数据模式的OA用户。 | | | | | | 数据管控:表关系管控,即 | | | 携程插件表单无需关联业务生成器的OA用户,针对出差单 | | | 交通、出差单酒店单分离使用的管控方式(7.0支持)。 | | | | | | Rest统一管控:针对出差单交通与 | | | 出差单酒店单合并后使用的一个管控方式(7.1支持)。 | +-----------------+----------------------------------------------------+ | 是 | 携程人事 | | 否开启自动同步 | 对接管控项,默认自动同步。自动同步状态下,只要A8人 | | | 员信息发生变化就会手动同步到携程,自动同步可关闭; | +-----------------+----------------------------------------------------+ | 结算同步方式 | 同步结算明细的控制项,控 | | | 制按每日获取结算信息,还是按每月获取一次结算信息。 | +-----------------+----------------------------------------------------+
+-------+--------------------------------------------------------------+ | > ![] | > 注意: | | (/dat | | | a/app | 1. 需要配置intertnet.sit.url,不支持配置127.0.0.1本机地址。 | | /open | | | seeyo | 2. 开启携程模块前请先确认OA加密狗中包含携程插件 | | n-man | | | ageme | | | nt/pa | | | ndoc/ | | | image | | | s/9a3 | | | be631 | | | -e6ec | | | -4c88 | | | -aef6 | | | -8887 | | | b22eb | | | 780/m | | | edia/ | | | image | | | 2.png | | | ){wid | | | th="0 | | | .4270 | | | 83333 | | | 33333 | | | 33in" | | | > | | | heig | | | ht="0 | | | .5312 | | | 5in"} | | +=======+==============================================================+ +-------+--------------------------------------------------------------+
# 2.3 公司账号配置
当配置好携程集成插件相关参数后,集团管理员登录可以看到菜单:携程集成配置,如下图所示:
{width="5.7555555555555555in"
height="2.7555555555555555in"}
图 商旅客户操作页面
参数说明:
登录ID:携程提供的公司登录ID(obk账户名),为必填项,不允许为空。
登录密码:携程提供的公司登录密码(obk密码) ,为必填项,不允许为空。
公司ID:携程提供的公司ID,为必填项,不允许为空。
操作步骤:
集团管理员登录OA,进入菜单【公司账号配置】,填写账号信息后保存,
进行携程企业账号配置。如图所示:
{width="5.764583333333333in"
height="2.670138888888889in"}
图 平台客户操作页面
参数说明:
渠道ID:携程提供的公司登录ID,为必填项,不允许为空。
渠道密码:携程提供的公司登录密码 ,为必填项,不允许为空。
公司编码:可根据需求自己填写,不允许为空。
公司名称:填写公司的全名,不允许为空。
密钥:携程提供的密钥,为必填项,不允许为空。
操作步骤:
集团管理员登录OA,进入菜单【公司账号配置】,填写账号信息后保存,
进行携程企业账号配置。如图所示:
+---------+------------------------------------------------------------+ | > | > 注意: | | { | | | width=" | | | 0.42708 | | | 3333333 | | | 3333in" | | | > heigh | | | t="0.53 | | | 125in"} | | +=========+============================================================+ +---------+------------------------------------------------------------+
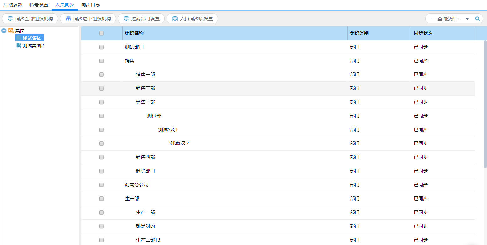
# 2.4 人员信息同步
人员同步规则:
如果单位存在重名人员,并且需要在员工姓名上做区分,请在真实姓名后用中文半角括号加其他文字标识,在同步至携程平台开通账户时只传递真实姓名,重名标识的括号和文字不传递。
例如协同账户"张三(测试)",携程中开卡时账户名称为"张三"。
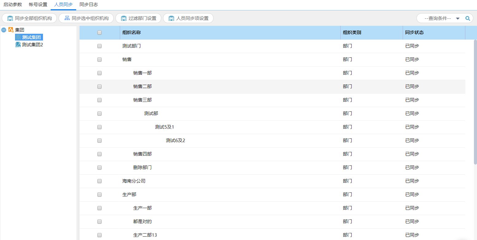
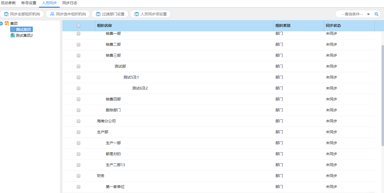
操作说明:
【人员信息同步】页面进行A8人员信息同步至携程的操作,支持同步全部组织机构,也支持同步部分组织机构。左侧树选中"集团",右侧按级次展示集团下的所有单位;选中具体的单位,右侧按照级次展示该单位下所有的部门,如下图所示:
{width="5.768055555555556in"
height="2.897222222222222in"}
图 人员信息同步前
{width="5.759027777777778in"
height="2.9in"}
图 人员信息同步后
- 同步全部
点击同步全部组织机构按钮,同步单位所有人员信息到携程,全部开卡。
{width="5.7625in"
height="2.410416666666667in"}
图 人员信息全部同步
- 选择性同步:
勾选要开通携程账号的单位或部门,点击"同步选中组织机构"按钮可以选择单位或单位下的部门进行同步
{width="5.7555555555555555in"
height="2.4993055555555554in"}
图 人员信息选择性同步
- 过滤部门设置:
设置过滤部门,被过滤得部门下人员将不会推送到携程。
{width="5.7659722222222225in"
height="2.84375in"}
- 人员同步项设置:
人员推送得明细,可以根据需求,动态得控制推送到携程中人员的推送项。
{width="5.7659722222222225in"
height="4.25625in"}
+-------+--------------------------------------------------------------+ | > ![] | > 注意: | | (/dat | | | a/app | 1、如果携程集成配置-公司账号配置没有设置企业账号信 | | /open | 息,按钮【同步全部组织机构】和【同步选中组织机构】置灰不可用 | | seeyo | | | n-man | 2、同步触发点: | | ageme | | | nt/pa | 1) 人员信息同步页面进行同步 | | ndoc/ | | | image | 2) 人员新建、修改、删除 | | s/9a3 | | | be631 | 3) 授权人及子账户同步会更新人员信息 | | -e6ec | | | -4c88 | | | -aef6 | | | -8887 | | | b22eb | | | 780/m | | | edia/ | | | image | | | 2.png | | | ){wid | | | th="0 | | | .4270 | | | 83333 | | | 33333 | | | 33in" | | | > | | | heig | | | ht="0 | | | .5312 | | | 5in"} | | +=======+==============================================================+ +-------+--------------------------------------------------------------+
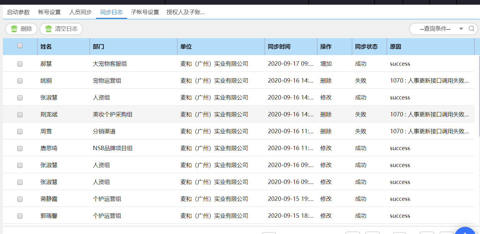
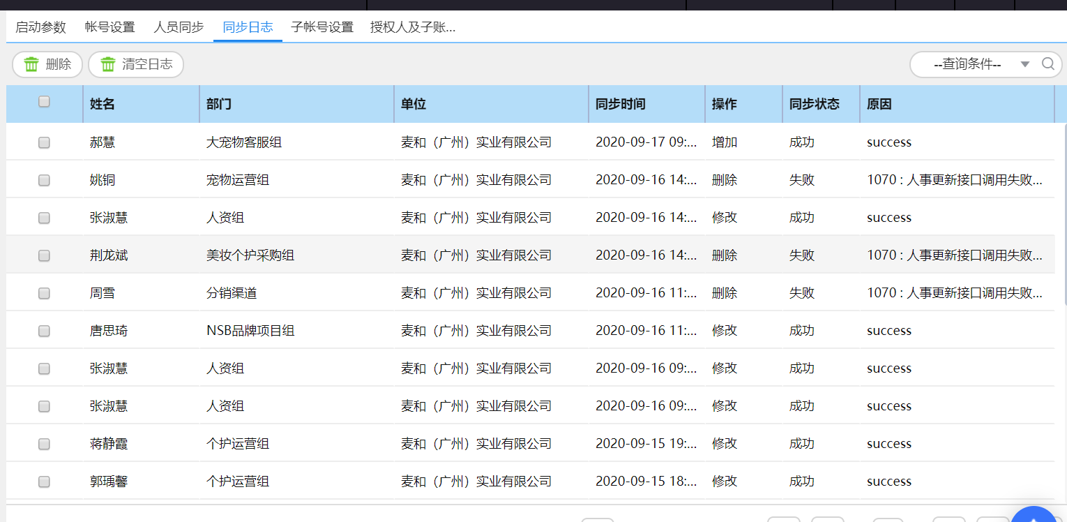
# 2.5 同步日志
操作说明:
在携程集成配置中点击同步日志菜单,进入同步日志页面进行人员信息同步日志查看以及清理,如下图所示:
{width="5.768055555555556in"
height="2.8201388888888888in"}
图 同步日志
# 2.6 子账户配置
单位管理员登陆,需要进行授权人及子账户同步的集成配置,菜单如下图所示:
{width="5.758333333333334in"
height="2.675in"}
图 导图
操作说明:
在携程集成配置中点击子账号户菜单,可以进行子账号的新建、修改及删除操作。如下图所示:
{width="5.665277777777778in"
height="2.645138888888889in"}
图 子账户新增设置
+------+---------------------------------------------------------------+ | > ! | > 注意: | | [](/ | | | data | 1、子账户信息由携程提供,可以在此界面录入到OA中 | | /app | | | /ope | 2、如果子账户 | | nsee | 已经被调用,不能删除,在授权人及子账户同步界面取消后才可删除 | | yon- | | | mana | | | geme | | | nt/p | | | ando | | | c/im | | | ages | | | /9a3 | | | be63 | | | 1-e6 | | | ec-4 | | | c88- | | | aef6 | | | -888 | | | 7b22 | | | eb78 | | | 0/me | | | dia/ | | | imag | | | e2.p | | | ng){ | | | widt | | | h="0 | | | .427 | | | 0833 | | | 3333 | | | 3333 | | | 3in" | | | > | | | hei | | | ght= | | | "0.5 | | | 3125 | | | in"} | | +======+===============================================================+ +------+---------------------------------------------------------------+
# 2.7 授权人及子账户同步
操作说明:
在携程集成配置中点击授权人及子账户同步菜单,进行授权人同步及子账户设置及修改,如下图所示:
{width="5.768055555555556in"
height="2.7077821522309713in"}
图 子账户列表
授权人同步设置
在人员列表中选择要设置授权人的员工,点击【授权人同步设置】按钮,弹出授权人选择页面,选择人员后点击确定按钮,将新设置的授权人更新到携程系统中,如下图所示:
{width="5.768055555555556in"
height="2.7838877952755907in"}
图 授权人设置
子账户同步设置
在人员列表中选择要设置子账户的员工,点击【子账户同步设置】按钮,弹出子账户选择页面,通过下拉框中选择携程提供的子账户信息,点击确定后将新设置的子账户传递至携程系统,如下图所示:
{width="5.768055555555556in"
height="2.724471784776903in"}
图 子账户设置
授权人:员工订票后的审核人(员工订票后,需要授权人通过邮件、APP等方式进行审批通过后携程才会出票,在第一次配置携程插件时请勿提前配置,同步之后要求配置授权人时再配置,否则容易出现重复授权)
子账户:用于区分公司不同层级员工的授权方式,如领导使用持卡人授权,员工使用email授权;或用于区分员工差旅预订使用现付/月结模式
+------+---------------------------------------------------------------+ | > ! | > 注意: | | [](/ | | | data | 1、如果参数设置中启用 | | /app | 授权人默认值,组织机构同步时会将人员所在部门的部门主管传给携 | | /ope | 程,OA前台不显示;如果部门主管为空,传给携程的授权人也为空。 | | nsee | | | yon- | 2、如果参数设置了子账户默认值,组织 | | mana | 机构同步时会将设置的子账户作为默认值传给携程,OA前台不显示; | | geme | | | nt/p | 3、授权人和被授权人不允许为同一个人 | | ando | | | c/im | 4、授权人默认不需要配置 | | ages | | | /9a3 | | | be63 | | | 1-e6 | | | ec-4 | | | c88- | | | aef6 | | | -888 | | | 7b22 | | | eb78 | | | 0/me | | | dia/ | | | imag | | | e2.p | | | ng){ | | | widt | | | h="0 | | | .427 | | | 0833 | | | 3333 | | | 3333 | | | 3in" | | | > | | | hei | | | ght= | | | "0.5 | | | 3125 | | | in"} | | +======+===============================================================+ +------+---------------------------------------------------------------+
# 2.8 新增节点权限(节点权限可不增加,此步可跳过)
单位管理员在功能应用设置 > 协同应用设置页面,手工增加"携程审批"、"携程预订"的节点权限。出差申请流程中携程审批节点审批通过时,OA将表单数据传递给携程。流程到携程预订节点后,表单发起者即可通过PC/M1端单点登录至携程系统进行预订操作。
{width="5.768055555555556in"
height="2.6764041994750656in"}
图 添加携程审批节点
{width="5.768055555555556in"
height="2.8453073053368327in"}
图 添加携程审预订节点
# 携程业务审批集成
# 1.1集成描述
目前致远OA与携程系统数据管控的方式是通过OA发起单据,提前审批后数据根据客户需求配置的管控规则推送到携程系统,客户登录到携程系统后会提示相关的OA审批单,根据相关审批单订票即可管控。
# 2.1业务流程配置
# 2.1.1表单包导入
应用设计师--->应用定制平台--->设计中心务生成器 > 业务配置管理页面,导入携程的biz业务包
{width="5.761111111111111in"
height="1.6180555555555556in"}
图 设计中心
应用安装--->从本地安装
{width="5.7625in"
height="2.9256944444444444in"}
图 本地安装
{width="5.760416666666667in"
height="3.5034722222222223in"}
图 应用安装向导
按照实际使用正常安装即可,安装完成后,点击应用中心,会显示新安装的应用。
{width="5.759027777777778in"
height="1.93125in"}
图 应用
{width="5.7652777777777775in"
height="3.048611111111111in"}
图 携程统一出差单
应用安装之后,登录集团管理员或企业管理员进入以下目录修改OA数据源,如果点击DEE控制台出现授权界面,请先购买的DEE插件
{width="5.768055555555556in"
height="2.9487849956255467in"}
# 2.1.2业务流程集成绑定
流程配置好后,登录集团管理员或企业管理员,打开CIP平台,业务流程集成菜单
新建分类之后创建集成业务
{width="5.754166666666666in"
height="2.220138888888889in"}
图 业务流程
{width="5.766666666666667in"
height="2.1798611111111112in"}
图 设置关联流程
携程业务名称根据需求填写即可,表单流程模版名称点击即可显示已发布的流程,选中之前发布的出差申请单即可,集成业务描述根据需求填写即可,设置完成后点击下一步。
{width="5.754166666666666in"
height="2.111111111111111in"}
图 流程关联应用
进入集成业务设置页面,首先点击关联应用
{width="5.761111111111111in"
height="3.5034722222222223in"}
图 应用选择
关联已有发布的携程商旅后保存,保存关联应用
点击节点事件按照下图配置,点击保存
{width="5.7625in"
height="1.5284722222222222in"}
在最后一个节点点击增加节点事件,绑定刚刚增加的节点事件,保存
{width="5.754861111111111in"
height="2.29375in"}
图 添加节点事件
配置节点事件后保存
{width="5.760416666666667in"
height="2.3618055555555557in"}
图 绑定成功
# 2.1.3携程商旅管理员设置
新增携程商旅管理员角色,个人设置成携程商旅管理员角色后可设置相关基础信息、管控规则和查询相关的记录信息。
{width="2.186111111111111in"
height="1.9972222222222222in"}
图 角色授权
{width="5.7652777777777775in"
height="1.2993055555555555in"}
图 角色菜单
{width="5.7652777777777775in"
height="1.4256944444444444in"}
{width="5.754861111111111in"
height="1.975in"}
+--------+-------------------------------------------------------------+ | > ![] | > 注意: | | (/data | | | /app/o | 1. 设置管控规则时,预订 | | pensee | 控制项是不会向下兼容的,如你选择的职级分类是中级职级,那管 | | yon-ma | 控的职级就是中级职级,不会兼容到普通职级。城市分类设置成一 | | nageme | 级城市那只能管控到一级城市,二级,三级及以下都无法管控到。 | | nt/pan | | | doc/im | | | ages/9 | | | a3be63 | | | 1-e6ec | | | -4c88- | | | aef6-8 | | | 887b22 | | | eb780/ | | | media/ | | | image3 | | | 6.png) | | | {width | | | ="0.30 | | | 069444 | | | 444444 | | | 443in" | | | > h | | | eight= | | | "0.374 | | | 305555 | | | 555555 | | | 56in"} | | +========+=============================================================+ +--------+-------------------------------------------------------------+
# 2.1.4订票业务流程
2.1.4.1、员工发起出差申请
个人空间-我的模版中,员工点击"出差申请单",填写出差详细信息后发送至领导审批。
{width="5.766666666666667in"
height="2.2576388888888888in"}
图 选择模版
{width="5.761805555555555in"
height="3.6972222222222224in"}
图 出差申请单
{width="5.759722222222222in"
height="3.875in"}
图出差变更单(交通)
{width="5.761805555555555in"
height="2.908333333333333in"}
图出差变更单(酒店)
+--------+-------------------------------------------------------------+ | > ! | > 注意: | | [](/da | | | ta/app | 1、乘机姓名需 | | /opens | 与登记证件姓名保持一致。(如使用护照,需要填写护照上姓名) | | eeyon- | | | manage | 2、如果是往返预订,请选择往返程。 | | ment/p | | | andoc/ | 3、国内机票如需预订多程,左侧"+"可以添加"行程"; | | images | | | /9a3be | 4、国际机票仅需填写出发地和目的地,中转城市无需填写。 | | 631-e6 | | | ec-4c8 | **5、**出差人如果是多人时,预订方式请选择为他人预定 | | 8-aef6 | | | -8887b | | | 22eb78 | | | 0/medi | | | a/imag | | | e2.png | | | ){widt | | | h="0.4 | | | 270833 | | | 333333 | | | 333in" | | | > h | | | eight= | | | "0.531 | | | 25in"} | | +========+=============================================================+ +--------+-------------------------------------------------------------+
2.1.4.2、领导审批
流程发起后,差旅流程流转到领导审批环节。
{width="5.753472222222222in"
height="3.1638888888888888in"}
图 出差申请单审批
2.1.4.3、携程订票
领导同意员工出行,审批通过后,表单流程流转到携程预订节点,提醒员工单点登录至携程订票
{width="5.759722222222222in"
height="3.7840277777777778in"}
图领导审批
2.1.4.3.1、PC端携程订票
员工在首页空间单点登录携程商旅,选择审批单后进行航班及个人相关信息的填写后提交订单**。**
{width="5.7555555555555555in"
height="1.2847222222222223in"}
图 携程商旅
{width="5.760416666666667in"
height="2.859027777777778in"}
图 OA审批单
{width="5.7652777777777775in"
height="1.5673611111111112in"}
图 携程订票
{width="5.768055555555556in"
height="3.225170603674541in"}
图 订票关联OA审批单
如果预订行程与审批单审核要素匹配,则订单直接提交成功,后台迅速出票。
{width="5.768055555555556in"
height="2.9487849956255467in"}
图 订票成功
如过预订行程与审批单审核要素匹如果本次预订审核要素有任一不符合审批单,系统跳出提示,无法使用公司账户支付。
{width="5.768055555555556in"
height="4.674528652668417in"}
图 管控提示
在携程预订成功后,可点击至"携程商旅"标识,单点登录进入到"我的携程"页面进行订单查询。
{width="5.768055555555556in"
height="2.7618569553805776in"}
图 我的商旅
点击至"携程订单"标识,单点登录携程首页,在近期商旅订单中选择需要退票或改签的订单,点击相应订单,可查看订单明细。
{width="5.768055555555556in"
height="3.8680686789151357in"}
图 航班信息
{width="5.768055555555556in"
height="2.936768372703412in"}
图 订单明细
2.1.4.3.2、移动端携程订票
员工登录移动端后,通过全部应用-携程商旅入口单点登录携程订票页面,填写相关订单信息进行订单提交操作
{width="5.768055555555556in"
height="3.643755468066492in"}
图 移动端携程审批单
如预订与审批单不一致,系统会给出提示,无法订票。员工可返回上一步修改预订或重新选择审批单
{width="3.781778215223097in"
height="5.552858705161855in"}
图 移动端管控提示
如预订信息在审批范围内,订单提交成功,进入出票环节。
{width="4.094444444444444in"
height="6.659027777777778in"}
图 移动端成功
# 3.1特征
# 3.1.1事前审批(员工订票流程打通)
携程插件打通OA中用户出差流程和携程预订,并将携程数据反馈给OA;客户可自定义携程订票规则及订票所需相关信息,完善和执行差旅政策,全面控制差旅成本。
{width="5.768055555555556in"
height="2.3208333333333333in"}
图 预订流程
业务操作流程描述如下**:**
1)、预置携程商旅业务包
2)、客户自定义携程订票规则及订票所需相关信息
3)、出差申请单中有携程审批和携程订票节点,领导审批通过后会自动生成OA审批单,将订票信息及规则传给携程。
4)、携程中在出票时会将订单信息和OA传过去的信息做对比,如果不一致则弹出提示,如果一致即可出票。
# 3.1.2事后审批
员工首先通过M1单点登录至携程预订机票,授权人通过短信、邮件等方式审批完成后携程自动出票,管控规则需提前在携程中预置,OA中不做差旅管控。
+--------+-------------------------------------------------------------+ | > ! | > 注意: | | [](/da | | | ta/app | 1、目前商旅审批 | | /opens | 支持事前和事后两种审批模式,企业只能选择其中一种审批方式。 | | eeyon- | | | manage | | | ment/p | | | andoc/ | | | images | | | /9a3be | | | 631-e6 | | | ec-4c8 | | | 8-aef6 | | | -8887b | | | 22eb78 | | | 0/medi | | | a/imag | | | e2.png | | | ){widt | | | h="0.4 | | | 270833 | | | 333333 | | | 333in" | | | > h | | | eight= | | | "0.531 | | | 25in"} | | +========+=============================================================+ +--------+-------------------------------------------------------------+
# 单点登录
# 1 PC端单点登录
操作说明:
已经在携程系统中成功开户的OA账号登录协同,可见携程商旅的空间点击【携程订单】可单点登录至携程系统的"我的携程首页",点击【携程商旅】可单点登录至携程系统的订票页面,如下图所示:
{width="5.768055555555556in"
height="0.9079341644794401in"}
图 PC单点菜单
{width="5.768055555555556in"
height="2.9763888888888888in"}
图 携程订单
{width="5.768055555555556in"
height="3.107638888888889in"}
图 携程商旅
未在携程系统开户的OA账号进行单点登录时会弹出如下页面:
{width="5.768055555555556in"
height="2.9763888888888888in"}
图 错误提示
+--------+-------------------------------------------------------------+ | > ! | > 注意: | | [](/da | | | ta/app | 1、PC端localhost或127.0.0.1的方式进行单点登录会被迫下线 | | /opens | | | eeyon- | | | manage | | | ment/p | | | andoc/ | | | images | | | /9a3be | | | 631-e6 | | | ec-4c8 | | | 8-aef6 | | | -8887b | | | 22eb78 | | | 0/medi | | | a/imag | | | e2.png | | | ){widt | | | h="0.4 | | | 270833 | | | 333333 | | | 333in" | | | > h | | | eight= | | | "0.531 | | | 25in"} | | +========+=============================================================+ +--------+-------------------------------------------------------------+
# 2 移动端单点登录
操作说明:
首先登录集团管理员或企业管理员,打开CIP集成平台-》应用接入-》应用接入设置,选中携程商旅,点击接入设置,然后选中单点登录页签配置H5登录地址及登录授权。
在H5登录地址前加上M3 服务器IP地址以及端口号;
如:http://127.0.0.1:8080/mobile_portal/seeyon/xc/xcController.do?method=connectM3
{width="5.756944444444445in"
height="2.777083333333333in"}
图 应用接入
在集团管理员进行公司账号配置后,系统管理员登录协同,移动管理-移动接入设置页面可见2条自动增加的记录,点击修改按钮进行授权,如下图所示:
{width="5.768055555555556in"
height="3.3079527559055117in"}
图 移动端单点登录
+--------+-------------------------------------------------------------+ | > ! | > 注意: | | [](/da | | | ta/app | 1. 登录移动端后在"应用中心-其他 | | /opens | 应用"中开启"携程商旅"后,才能在全部应用中看到携程的菜单入口 | | eeyon- | | | manage | 2. 配置H5 | | ment/p | 登录地址是一定要加上"mobile_portal",否则移动端登录显示空白 | | andoc/ | | | images | | | /9a3be | | | 631-e6 | | | ec-4c8 | | | 8-aef6 | | | -8887b | | | 22eb78 | | | 0/medi | | | a/imag | | | e2.png | | | ){widt | | | h="0.4 | | | 270833 | | | 333333 | | | 333in" | | | > h | | | eight= | | | "0.531 | | | 25in"} | | +========+=============================================================+ +--------+-------------------------------------------------------------+
# 补充说明
携程组织同步,同步数据后人员并不会自动开卡使用,需要携程开放的管理员进行手工开卡授权。
目前CIP平台应用接入-接入设置-单点登录中支持第三方Token的方式实现携程单点登录
快速跳转
